Water Pumps WB WB20 WB20X C GX110-1000001-9999999 AIR CLEANER - Bates Ace Hardware

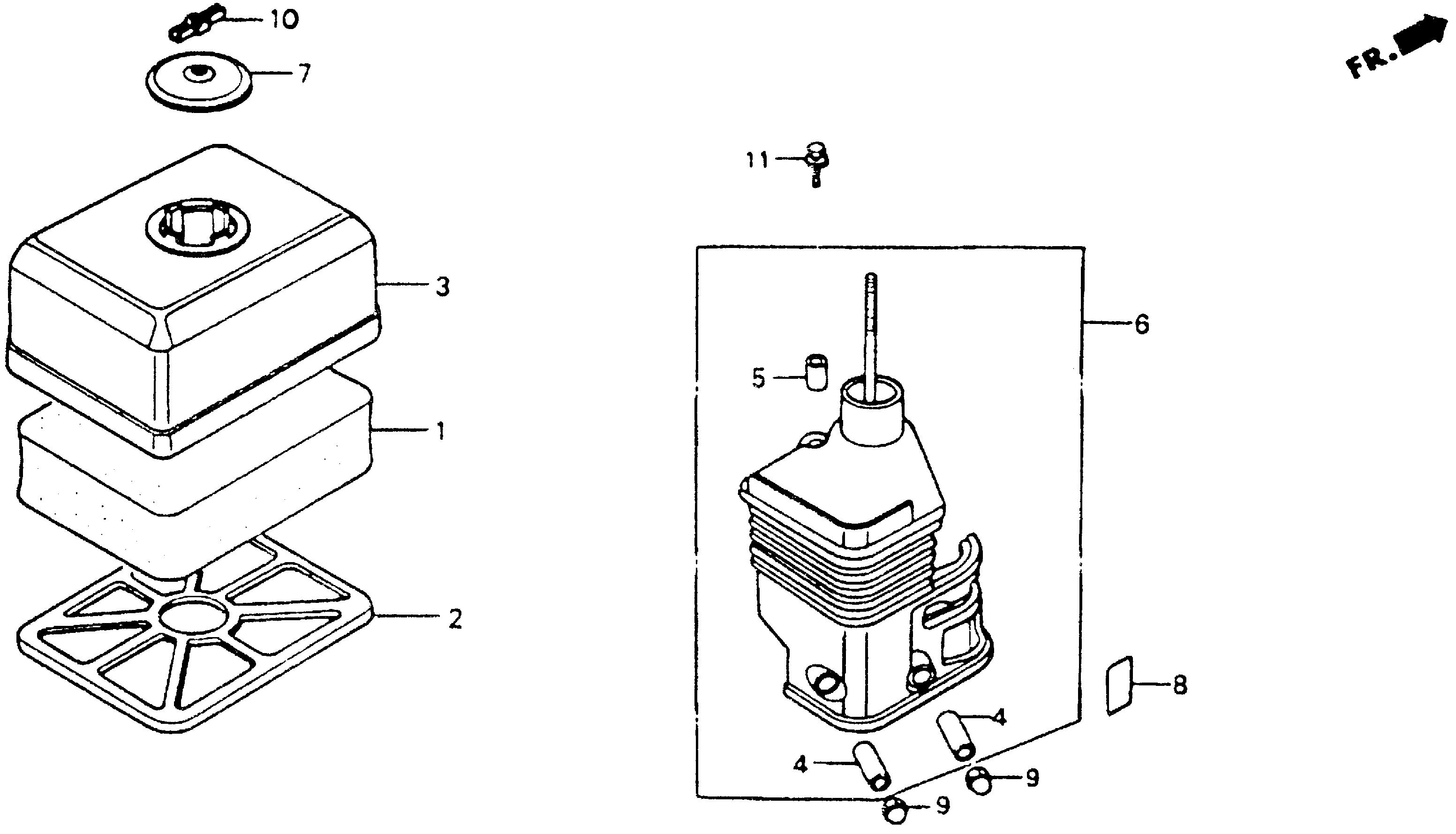
Ref No
Part Number
Description
Serial Range
Qty
Price

Ref No
1
Part Number
17211-ZE1-000
Description
ELEMENT, AIR CLEANER (SEMI-DRY)
Serial Range
1000001 - 9999999
Qty
Price
$8.46

Ref No
2
Part Number
17212-ZE1-000
Description
GRID, AIR CLEANER (SEMI-DRY)
Serial Range
1000001 - 9999999
Qty
Price
$9.12

Ref No
3
Part Number
17231-ZE1-000
Description
COVER, AIR CLEANER (SEMI-DRY)
Serial Range
1000001 - 9999999
Qty
Price
$51.86

Ref No
4
Part Number
17238-ZE0-000
Description
COLLAR, AIR CLEANER (NOT AVAILABLE)
Serial Range
1190269 - 1549317

Ref No
4
Part Number
17238-ZE0-010
Description
COLLAR, AIR CLEANER
Serial Range
1549318 - 9999999
Qty
Price
$4.58

Ref No
4
Part Number
17238-ZE1-000
Description
COLLAR, AIR CLEANER
Serial Range
1000001 - 1190268
Qty
Price
$5.46

Ref No
5
Part Number
17239-ZE1-000
Description
COLLAR B, AIR CLEANER
Serial Range
1786085 - 9999999
Qty
Price
$4.44

Ref No
6
Part Number
04101-ZE0-000
Description
ELBOW, AIR CLEANER
Serial Range
1190269 - 1549317

Ref No
6
Part Number
17410-ZE0-000
Description
ELBOW, AIR CLEANER
Serial Range
1000001 - 1190268

Ref No
6
Part Number
17410-ZE0-020
Description
ELBOW, AIR CLEANER
Serial Range
1190269 - 1549317

Ref No
6
Part Number
17410-ZE0-040
Description
ELBOW, AIR CLEANER
Serial Range
1549318 - 9999999
Qty
Price
$36.34

Ref No
7
Part Number
17421-ZE1-000
Description
CAP, CLEANER
Serial Range
1786085 - 9999999
Qty
Price
$12.26

Ref No
8
Part Number
87528-ZE1-810
Description
MARK, CHOKE
Serial Range
1000001 - 9999999
Qty
Price
$2.20

Ref No
9
Part Number
90201-415-000
Description
NUT, CAP (6MM)
Serial Range
1000001 - 9999999

Ref No
10
Part Number
90203-PB2-000
Description
NUT, AIR CLEANER COVER (DACRO COATING)
Serial Range
1000001 - 9999999
Qty
Price
$9.60

Ref No
11
Part Number
93404-06020-08
Description
BOLT-WASHER (6X20)
Serial Range
1000001 - 9999999
Qty
Price
$1.98